环聚创新 品质领航
服务热线
13315147745
本实用新型提供一种膜片式微孔曝气器,属于曝气装置技术领域。所述的膜片式微孔曝气器,包括底座、膜片及膜片固定圈,所述膜片通过膜片固定圈固定于底座上,所述底座包括底盘以及设于底盘中心的进气通道,所述底盘内设有若干导气槽,所述进气通道与底盘连接处设置中心通气孔,所述导气槽以中心通气孔为中心向四周呈发射状设置;所述膜片上设有倒锥形的导气块,所述导气块能够插入所述中心通气孔,所述膜片上导气块外围设置小孔。本实用新型膜片上设置倒锥形的导气块,曝气时,空气不会直接吹于曝气膜上,底盘上设置若干以中心通气孔为中心向外呈发射状设置的导气槽,能够使空气均匀扩散至整个曝气膜。


1、一种膜片式微孔曝气器,其特征在于:包括底座、膜片及膜片固定圈,所述膜片通过膜片固定圈固定于底座上,所述底座包括底盘以及设于底盘中心的进气通道,所述底盘内设有若干导气槽,所述进气通道与底盘连接处设置中心通气孔,所述导气槽以中心通气孔为中心向四周呈发射状设置;所述膜片上设有倒锥形的导气块,所述导气块能够插入所述中心通气孔,所述膜片上导气块外围设置小孔。
2、根据权利要求1所述的膜片式微孔曝气器,其特征在于:所述中心通气孔的侧壁以进气通道为起点向外倾斜,中心通气孔的顶部直径小于导气块的圆面直径。
3、根据权利要求2所述的膜片式微孔曝气器,其特征在于:所述中心通气孔的侧壁与所述导气块的椎面相互贴合。
4、根据权利要求1所述的膜片式微孔曝气器,其特征在于:所述膜片边缘设置凸出圆形挡圈,所述底座上设置与挡圈相互配合的凹槽,所述挡圈放置于所述凹槽内。
5、根据权利要求4所述的膜片式微孔曝气器,其特征在于:所述导气槽与凹槽相互连通。
6、根据权利要求1-5任一项所述的膜片式微孔曝气器,其特征在于:所述底座侧壁上设置外螺纹,所述膜片固定圈的侧壁内部设置与所述外螺纹相互配合的内螺纹。
7、根据权利要求6所述的膜片式微孔曝气器,其特征在于:所述小孔为由内向外的圆锥形小孔。
一种膜片式微孔曝气器
技术领域
本实用新型属于曝气装置技术领域,具体涉及一种膜片式微孔曝气器。
背景技术
微孔曝气装置是污水处理中使用的一种装置,是鼓风曝气充氧所必须的一种设 备,通过往污水中充氧,以供给微生物生长活动,能够通过生物法处理污水,以达到节能减排的效果。
传统曝气膜中心为平面状的,进气孔长期直接对膜片中心吹,容易造成膜片撕裂,影响正常使用寿命及曝气效果,且采用止回阀止回效果差,使用寿命短,对曝气阻力大。
实用新型内容
本实用新型通过提供一种膜片式微孔曝气器,以解决现有技术中膜片易撕裂,且曝气效果不佳的技术问题。
为实现上述目的,本实用新型的技术解决方案是:
一种膜片式微孔曝气器,包括底座、膜片及膜片固定圈,所述膜片通过膜片固定圈固定于底座上,所述底座包括底盘以及设于底盘中心的进气通道,所述底盘内设有若干导气槽,所述进气通道与底盘连接处设置中心通气孔,所述导气槽以中心通气孔为中心向四周呈发射状设置;所述膜片上设有倒锥形的导气块,所述导气块能够插入所述中心通气孔,所述膜片上导气块外围设置小孔。
优选地,所述中心通气孔的侧壁以进气通道为起点向外倾斜,中心通气孔的顶部直径小于导气块的圆面直径。
优选地,所述中心通气孔的侧壁与所述导气块的椎面相互贴合。
优选地,所述膜片边缘设置凸出圆形挡圈,所述底座上设置与挡圈相互配合的凹槽,所述挡圈放置于所述凹槽内。
优选地,所述导气槽与凹槽相互连通。
优选地,所述底座侧壁上设置外螺纹,所述膜片固定圈的侧壁内部设置与所述外螺纹相互配合的内螺纹。
优选地,所述小孔为由内向外的圆锥形小孔。
本实用新型的有益效果是:
1. 膜片上设置倒锥形的导气块,曝气时,空气不会直接吹于曝气膜上,且通过圆锥形导气块能够很好的引导气流均匀向四周扩散,并不会对曝气增加阻力;停气时,受膜片自身收缩力及水向下压力,凸出的锥形导气块能够紧紧压在中心通气孔上,有效的防止污水及污泥倒灌,且再次曝气时亦不会对气体造成阻力、加大曝气能耗。
2. 底盘上设置若干以中心通气孔为中心向外呈发射状设置的导气槽,能够使空气均匀扩散至整个曝气膜。
3. 曝气膜上的小孔采用圆锥形打孔工艺,由内向外开孔,曝气时阻力小,停气时闭合效果好。
附图说明
图1是本实用新型的停气状态结构示意图。
图2是本实用新型的曝气状态结构示意图。
图3是图2中A部分的结构示意图。
图4是本实用新型的底座的俯视结构示意图。
具体实施方式
下面将结合本实用新型实施例中的附图,对本实用新型实施例中的技术方案进行清楚、完整地描述,显然,所描述的实施例仅仅是本实用新型的一部分实施例,而不是全部的实施例。基于本实用新型中的实施例,本领域普通技术人员在没有作出创造性劳动前提下所获得的所有其他实施例,都属于本实用新型保护的范围。
需要说明,本实用新型实施例中所有方向性指示(诸如上、下、左、右、前、后……)仅用于解释在某一特定姿态(如附图所示)下各部件之间的相对位置关系、运动情况等,如果该特定姿态发生改变时,则该方向性指示也相应地随之改变。
在本实用新型中,除非另有明确的规定和限定,术语“连接”、“固定”等应做广义理解,例如,“固定”可以是固定连接,也可以是可拆卸连接,或成一体;可以是直接相连,也可以通过中间媒介间接相连,可以是两个元件内部的连通或两个元件的相互作用关系,除非另有明确的限定。对于本领域的普通技术人员而言,可以根据具体情况理解上述术语在本实用新型中的具体含义。
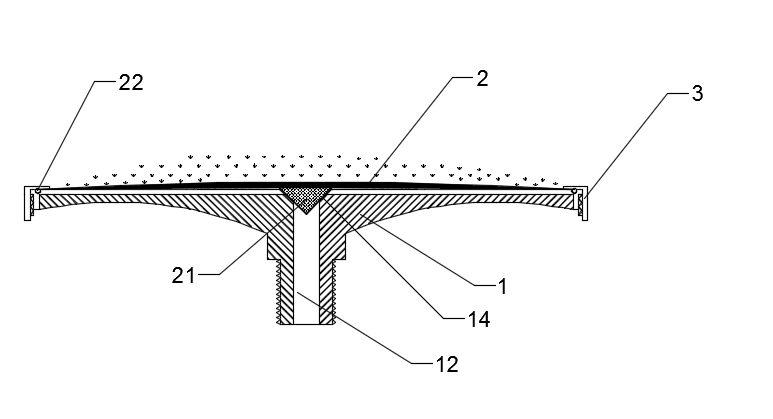
参见图1至图3,一种膜片式微孔曝气器,包括底座1、膜片2及膜片固定圈3,所述膜片1通过膜片固定圈3固定于底座1上,所述底座1包括底盘11以及设于底盘中心的进气通道12,所述底盘内设有若干导气槽13,所述进气通道12与底盘11连接处设置中心通气孔14,所述导气槽13以中心通气孔14为中心向四周呈发射状设置;所述膜片2上设有倒锥形的导气块21,所述导气块21能够插入所述中心通气孔14,所述膜片2上导气块21外围设置小孔,所述小孔为由内向外的圆锥形小孔。所述中心通气孔的侧壁以进气通道为起点向外倾斜,中心通气孔的顶部直径小于导气块的圆面直径。所述中心通气孔的侧壁与所述导气块的椎面相互贴合。
以上实施例中,本实用新型的曝气器,通过在膜片上设置倒锥形的导气块,曝气时,空气不会直接吹于曝气膜上,且通过圆锥形导气块能够很好的引导气流均匀向四周扩散,并不会对曝气增加阻力;停气时,受膜片自身收缩力及水向下压力,凸出的锥形导气块能够紧紧压在中心通气孔上,有效的防止污水及污泥倒灌,且再次曝气时亦不会对气体造成阻力、加大曝气能耗。此外,在底盘与进气通道的连接处设置与导气块相互贴合的中心通气孔,曝气时,中心通气孔将气流均匀引向四周;停气时,导气块与中心通气孔紧紧贴合。还在底盘上设置若干以中心通气孔为中心向外呈发射状设置的导气槽,能够使空气均匀扩散至整个曝气膜。曝气膜上的小孔采用圆锥形打孔工艺,由内向外开孔,曝气时阻力小,停气时闭合效果好。
在另一种优选地实施例中,所述膜片边缘设置凸出圆形挡圈22,所述底座上设置与挡圈相互配合的凹槽15,所述挡圈22放置于所述凹槽15内。所述导气槽13与凹槽15相互连通。所述底座侧壁上设置外螺纹16,所述膜片固定圈的侧壁内部设置与所述外螺纹相互配合的内螺纹31。此外,进气通道端口外侧设有外螺纹17,用于与主管道连接。
以上实施例中,在膜片边缘设置凸出圆形挡圈22,所述底座上设置与挡圈相互配合的凹槽15,安装时,将挡圈放入凹槽内,由膜片固定圈通过底座侧壁的外螺纹将膜片紧紧压合在曝气底座上,膜片固定圈与底座螺纹连接;导气槽与凹槽相互连通,可增大膜片曝气的范围。
本实用新型的曝气膜片中心凸出的圆锥形导气块与膜片是一体成型的,以及曝气底座的中心通气孔与底盘、进气通道均采用模具预制,一次注塑成型,制作工艺简单,不会增加流程及成本费用。
本实用新型解决了传统止回阀止回效果差,使用寿命短,对曝气阻力大,在不用增加止回阀前提下做到有效的止回效果,且不会对曝气增加阻力。
以上所述仅为本实用新型的实施例,并非因此限制本实用新型的专利范围,凡是利用本实用新型说明书及附图内容所作的等效结构或等效流程变换,或直接或间接运用在其它相关的技术领域,均同理包括在本实用新型的专利保护范围内。

图1 

图2

图3
